鹏博助学

 找回密码
 欢迎注册
搜索
协会官网 图书捐赠" 英文网站 
等待资助的孩子 
助学流程 
助学款统计 会费统计 学校反馈 淘宝店 
公益统计 
荣誉室 
支付宝 
微信
查看: 243|回复: 35

2026年上期(第1次)助学款发放签领表下载及确认

  [复制链接]
(如果您是手机浏览,请点击页面上的(电脑模式浏览)转换后查看)
本次反馈要点:一、3月15日前请到论坛下载助学款签领表并确认学生人数、金额、银行信息、联系人及电话号码是否正确,3月15日前协会将转助学款到学校指定帐户;

二、3月31日前请务必将助学款发放到孩子手中,并将签领表拍照(或扫描)发原图到协会指定邮箱32197@qq.com

三、发放助学款时一定要提示孩子看签领表上的资助人名字是否有所变化?和孩子们开一个小小座谈会让孩子明白资助的目的和意义。
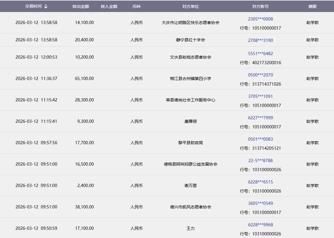
2026年3月至2026年5月各校助学款发放核对表.png


1.png
2.png
3.png
4.png

001四川省邻水县2026年3月至5月助学款签领表.xls

237.5 KB, 阅读权限: 150, 下载次数: 1

002湖北省红安县2026年3月至5月助学款签领表.xls

50.5 KB, 阅读权限: 150, 下载次数: 2

003黑龙江鸡西市2026年3月至5月助学款签领表.xls

146.5 KB, 阅读权限: 150, 下载次数: 1

004山西省吕梁地区2026年3月至5月助学款签领表.xls

33 KB, 阅读权限: 150, 下载次数: 6

005山西省吕梁市临县2026年3月至5月助学款签领表.xls

52.5 KB, 阅读权限: 150, 下载次数: 1

006贵州省普定县2026年3月至5月助学款签领表.xls

58.5 KB, 阅读权限: 150, 下载次数: 3

007内蒙古兴安盟扎赉特旗2026年3月至5月助学款签领表.xls

59.5 KB, 阅读权限: 150, 下载次数: 1

008云南省腾冲市2026年3月至5月助学款签领表.xls

48 KB, 阅读权限: 150, 下载次数: 3

009贵州省榕江县2026年3月至5月助学款签领表.xls

102 KB, 阅读权限: 150, 下载次数: 1

010山东省聊城市莘县2026年3月至5月助学款签领表.xls

50 KB, 阅读权限: 150, 下载次数: 2

011江西省鄱阳县2026年3月至5月助学款签领表.xls

145.5 KB, 阅读权限: 150, 下载次数: 3

012甘肃省平凉市崇信县2026年3月至5月助学款签领表.xls

38.5 KB, 阅读权限: 150, 下载次数: 1

013广东省连平县2026年3月至5月助学款签领表.xls

20.5 KB, 阅读权限: 150, 下载次数: 1

014广东龙川县2026年3月至5月助学款签领表.xls

40.5 KB, 阅读权限: 150, 下载次数: 1

017黑龙江省齐齐哈尔2026年3月至5月助学款签领表.xls

31.5 KB, 阅读权限: 150, 下载次数: 1

018黑龙江省大庆市地区2026年3月至5月助学款签领表.xls

33 KB, 阅读权限: 150, 下载次数: 3

019陕西省山阳县2026年3月至5月助学款签领表.xls

33 KB, 阅读权限: 150, 下载次数: 1

020陕西省子洲县2026年3月至5月助学款签领表.xls

38 KB, 阅读权限: 150, 下载次数: 1

022新疆塔城地区2026年3月至5月助学款签领表.xls

27 KB, 阅读权限: 150, 下载次数: 3

023黑龙江省齐齐哈尔市梅里斯区卧牛吐学校2026年3月至5月助学款签领表.xls.xls

20 KB, 阅读权限: 150, 下载次数: 1

024广东省汕尾市东涌中学2026年3月至5月助学款签领表.xls

23.5 KB, 阅读权限: 150, 下载次数: 1

025江西省德兴市2026年3月至5月助学款签领表.xls

88.5 KB, 阅读权限: 150, 下载次数: 1

026甘肃省平凉市灵台县2026年3月至5月助学款签领表.xls

78.5 KB, 阅读权限: 150, 下载次数: 2

027贵州省黎平县2026年3月至5月助学款签领表.xls

60 KB, 阅读权限: 150, 下载次数: 1

028湖北麻城市2026年3月至5月助学款签领表.xls

56.5 KB, 阅读权限: 150, 下载次数: 1

029内蒙古呼伦贝尔海拉尔第一中学2026年3月至5月助学款签领表.xls

21 KB, 阅读权限: 150, 下载次数: 1

030甘肃省秦安县2026年3月至5月助学款签领表.xls

100 KB, 阅读权限: 150, 下载次数: 2

031内蒙古五原县2026年3月至5月助学款签领表.xls

94 KB, 阅读权限: 150, 下载次数: 2

032甘肃省平凉市静宁县2026年3月至5月助学款签领表.xls

66.5 KB, 阅读权限: 150, 下载次数: 2

033江西省赣州市赣县2026年3月至5月助学款签领表.xls

60 KB, 阅读权限: 150, 下载次数: 1

034协会单独转款学生名单(含银行帐户)2026年3月至5月助学款发放表.xls

46 KB, 阅读权限: 150, 下载次数: 1

035山西省吕梁市文水县2026年3月至5月助学款签领表.xls

31 KB, 阅读权限: 150, 下载次数: 4

036广东省茂名高州市马贵镇2026年3月至5月助学款签领表.xls

33.5 KB, 阅读权限: 150, 下载次数: 7

015广西博白县2026年3月至5月助学款签领表.xls

26 KB, 阅读权限: 150, 下载次数: 4

016宁夏自治区泾源县2026年3月至5月助学款签领表.xls

22 KB, 阅读权限: 150, 下载次数: 1

021四川省德格县2026年3月至5月助学款签领表.xls

68 KB, 阅读权限: 150, 下载次数: 1

发表于 4 天前 | 显示全部楼层 手机版浏览
广西博白确认无误
发表于 4 天前 | 显示全部楼层 手机版浏览
信息确定无误
发表于 4 天前 | 显示全部楼层 手机版浏览
赣州市赣县区寻木阳光已确认
发表于 4 天前 来自手机 | 显示全部楼层 手机版浏览
河源龙川已确认
发表于 5 天前 来自手机 | 显示全部楼层 手机版浏览
黑龙江大庆已确认
发表于 5 天前 | 显示全部楼层 手机版浏览
静宁县红十字正确
发表于 5 天前 来自手机 | 显示全部楼层 手机版浏览
贵州省榕江县已确认。
发表于 5 天前 | 显示全部楼层 手机版浏览
山东省莘县德尚社会工作服务中心已确认!
发表于 5 天前 来自手机 | 显示全部楼层 手机版浏览
文水县助残志愿者协会已下载确认无误
发表于 5 天前 | 显示全部楼层 手机版浏览
山西省吕梁市公益协会已确定
发表于 5 天前 | 显示全部楼层 手机版浏览
021四川省德格县已确认。
发表于 5 天前 | 显示全部楼层 手机版浏览
贵州省黎平县确认无误
发表于 6 天前 | 显示全部楼层 手机版浏览
德兴确认
回复

使用道具 举报

发表于 6 天前 | 显示全部楼层 手机版浏览
山阳确认无误
发表于 6 天前 | 显示全部楼层 手机版浏览
已下载,确认无误,谢谢!
发表于 6 天前 | 显示全部楼层 手机版浏览
齐齐哈尔爱心家园确认无误!
发表于 6 天前 | 显示全部楼层 手机版浏览
子洲县爱心志愿者协会已确定
发表于 6 天前 来自手机 | 显示全部楼层 手机版浏览
确认
回复

使用道具 举报

发表于 6 天前 | 显示全部楼层 手机版浏览
宁夏泾源县各学校确认无误,感谢协会及各界爱心人士的帮助和支持。
发表于 6 天前 | 显示全部楼层 手机版浏览
临县志愿者协会确认无误
发表于 6 天前 | 显示全部楼层 手机版浏览
邻水县确认无误码
发表于 6 天前 来自手机 | 显示全部楼层 手机版浏览
内蒙古呼伦贝尔市海拉尔第一中学确认无误
发表于 6 天前 | 显示全部楼层 手机版浏览
甘肃省秦安县团委已确认无误
发表于 7 天前 | 显示全部楼层 手机版浏览
汕尾市城区东涌中学已确认无误
发表于 7 天前 | 显示全部楼层 手机版浏览
贵州普定确认无误
发表于 7 天前 | 显示全部楼层 手机版浏览
灵台县红十字会确认无误
发表于 7 天前 | 显示全部楼层 手机版浏览
崇信县红十字会确认无误
发表于 7 天前 | 显示全部楼层 手机版浏览
湖北红安确认无误
发表于 7 天前 | 显示全部楼层 手机版浏览
湖北麻城信息无误,签领表已下载!
发表于 7 天前 | 显示全部楼层 手机版浏览
腾冲市教育体育局确认无误
发表于 7 天前 | 显示全部楼层 手机版浏览
新疆塔城助学款发放核对表各信息准确无误,谢谢鹏博爱心互助协会及各爱心人士,谢谢王会长!
发表于 7 天前 | 显示全部楼层 手机版浏览
黑龙江齐齐哈尔确定无误,感谢鹏博爱心互助协会和爱心人士
发表于 7 天前 | 显示全部楼层 手机版浏览
黑龙江鸡西已确认无误
发表于 7 天前 来自手机 | 显示全部楼层 手机版浏览
江西鄱阳确认无误
发表于 7 天前 | 显示全部楼层 手机版浏览
五原县扬帆志愿者协会已确定
您需要登录后才可以回帖 登录 | 欢迎注册

本版积分规则

QQ|Archiver|手机版|小黑屋|鹏博助学 ( 粤ICP备11082869号 )

GMT+8, 2026-3-17 16:20 , Processed in 0.038040 second(s), 11 queries , Redis On.

Powered by Discuz! X3.4 Licensed

© 2001-2017 Comsenz Inc.

快速回复 返回顶部 返回列表