鹏博助学

 找回密码
 欢迎注册
搜索
协会官网 图书捐赠" 英文网站 
等待资助的孩子 
助学流程 
助学款统计 会费统计 学校反馈 淘宝店 
公益统计 
荣誉室 
支付宝 
微信
查看: 6671|回复: 42

2024年上期(第2次)助学款发放签领表下载及点回复信息确认!

  [复制链接]
发表于 2024-4-25 13:34:40 | 显示全部楼层 |阅读模式 手机版浏览


(如果您是手机浏览,请点击页面上的(电脑模式浏览)转换后查看)
本次反馈要点:

一、5月10日前请到论坛下载助学款签领表并确认学生人数、金额、银行信息、联系人及电话号码是否正确,5月15日协会将转助学款到学校指定帐户;

二、5月31日前发动每一位学生给资助人写封汇报信并发到邮箱,汇报本学期的学习情况及生活情况,让资助人能更好了解孩子的目前情况,请注意:现在协会系统已经升级,为了资助人能准确的收到孩子来信,每封信老师拍照片后用学生姓名+资助人名字作为文件名发原图到协会邮箱,格式如:  李泽宇+豆朵丫 ,如果是多名资助人同时资助的一个孩子,同一封信请分别命名文件名,如:张玉梅+如果没有离开和张玉梅+西红柿抱蛋;

三、5月31日前请务必将助学款发放到孩子手中,并将签领表拍照(或扫描)发原图到协会指定邮箱;发放助学款时一定要提示孩子看签领表上的资助人名字是否有所变化?和孩子们开一个小小座谈会让孩子明白资助的目的和意义。

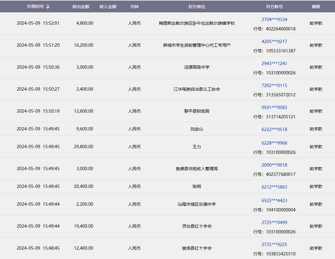
2024年6月至2024年7月各校助学款发放核对表.png 1.png 2.png 3.png 4.png 5.png 6.png 7.png 8.png 9.png 10.png

002湖北省红安县2024年6月至7月助学款签领表.xls

56 KB, 阅读权限: 150, 下载次数: 1

003黑龙江鸡西市2024年6月至7月助学款签领表.xls

105 KB, 阅读权限: 150, 下载次数: 3

004山西省吕梁地区2024年6月至7月助学款签领表.xls

28.5 KB, 阅读权限: 150, 下载次数: 7

005四川省巴塘康南民族高级中学2024年6月至7月助学款签领表.xls

52 KB, 阅读权限: 150, 下载次数: 2

007贵州省普定团县委2024年6月至7月助学款签领表.xls

62.5 KB, 阅读权限: 150, 下载次数: 4

008内蒙古兴安盟扎赉特旗2024年6月至7月助学款签领表.xls

62.5 KB, 阅读权限: 150, 下载次数: 2

009贵州省岑巩县各学校2024年6月至7月助学款签领表.xls

54 KB, 阅读权限: 150, 下载次数: 1

010贵州省榕江县2024年6月至7月助学款签领表.xls

147.5 KB, 阅读权限: 150, 下载次数: 1

011山东省聊城市莘县2024年6月至7月助学款签领表.xls

70 KB, 阅读权限: 150, 下载次数: 3

012江西省鄱阳县2024年6月至7月助学款签领表.xls

102 KB, 阅读权限: 150, 下载次数: 3

014广西自治区阳朔县杨堤乡2024年6月至7月助学款签领表.xls

20 KB, 阅读权限: 150, 下载次数: 1

015安徽省霍山县2024年6月至7月助学款签领表.xls

20.5 KB, 阅读权限: 150, 下载次数: 1

016贵州省绥阳县所属各校区2024年6月至7月助学款签领表.xls

26.5 KB, 阅读权限: 150, 下载次数: 1

017甘肃省平凉市崇信县2024年6月至7月助学款签领表.xls

35 KB, 阅读权限: 150, 下载次数: 3

018广东省连平县2024年6月至7月助学款签领表.xls

21 KB, 阅读权限: 150, 下载次数: 2

019广东龙川县2024年6月至7月助学款签领表.xls

42 KB, 阅读权限: 150, 下载次数: 1

020山东省郯城县各校2024年6月至7月助学款签领表.xls

23 KB, 阅读权限: 150, 下载次数: 2

021广西博白县2024年6月至7月助学款签领表.xls

26.5 KB, 阅读权限: 150, 下载次数: 9

022宁夏自治区泾源县各校2024年6月至7月助学款签领表.xls

22.5 KB, 阅读权限: 150, 下载次数: 1

023黑龙江省齐齐哈尔2024年6月至7月助学款签领表.xls

36.5 KB, 阅读权限: 150, 下载次数: 2

024黑龙江省大庆市地区2024年6月至7月助学款签领表.xls

35 KB, 阅读权限: 150, 下载次数: 7

025陕西省山阳县2024年6月至7月助学款签领表.xls

42.5 KB, 阅读权限: 150, 下载次数: 1

026安徽省旌德地区2024年6月至7月助学款签领表.xls

24.5 KB, 阅读权限: 150, 下载次数: 1

027江西省南昌地区学校2024年6月至7月助学款签领表.xls

29 KB, 阅读权限: 150, 下载次数: 3

028湖南江华2024年6月至7月助学款签领表.xls

24.5 KB, 阅读权限: 150, 下载次数: 3

029新疆塔城地区2024年6月至7月助学款签领表.xls

31 KB, 阅读权限: 150, 下载次数: 15

030黑龙江省齐齐哈尔市梅里斯区卧牛吐学校2024年6月至7月助学款签领表.xls.xls.xls

16 KB, 阅读权限: 150, 下载次数: 1

031广东省汕尾市东涌中学2024年6月至7月助学款签领表.xls

25.5 KB, 阅读权限: 150, 下载次数: 2

032江西省德兴市2024年6月至7月助学款签领表.xls

89 KB, 阅读权限: 150, 下载次数: 9

033内蒙古鄂温克旗地区鄂温克旗第一小学2024年6月至7月助学款签领表.xls.xls

22.5 KB, 阅读权限: 150, 下载次数: 1

034甘肃省平凉市灵台各校2024年6月至7月助学款签领表.xls

41.5 KB, 阅读权限: 150, 下载次数: 4

035贵州黎平县2024年6月至7月助学款签领表.xls

60.5 KB, 阅读权限: 150, 下载次数: 4

036宁夏自治区泾源县高级中学2024年6月至7月助学款签领表.xls

22 KB, 阅读权限: 150, 下载次数: 1

037湖北麻城2024年6月至7月助学款签领表.xls

54 KB, 阅读权限: 150, 下载次数: 4

038内蒙古呼伦贝尔海拉尔第一中学2024年6月至7月助学款签领表.xls

21 KB, 阅读权限: 150, 下载次数: 9

039甘肃秦安县2024年6月至7月助学款签领表.xls

99.5 KB, 阅读权限: 150, 下载次数: 1

040协会直接转款学生2024年6月至7月助学款签领表.xls

90 KB, 阅读权限: 150, 下载次数: 1

001四川省邻水县各校2024年6月至7月助学款签领表.xls

208.5 KB, 阅读权限: 150, 下载次数: 4

006山西省吕梁市临县2024年6月至7月助学款签领表.xls

112 KB, 阅读权限: 150, 下载次数: 15

发表于 2024-5-14 14:03:30 | 显示全部楼层 手机版浏览
内蒙古呼伦贝尔市鄂温克旗第一实验小学确认无误。
发表于 2024-5-13 16:22:09 | 显示全部楼层 手机版浏览
确认无误
回复

使用道具 举报

发表于 2024-5-13 15:20:24 | 显示全部楼层 手机版浏览
确认无误
回复

使用道具 举报

发表于 2024-5-13 10:15:57 | 显示全部楼层 手机版浏览
贵州省岑巩县确认无误
发表于 2024-5-13 09:48:43 来自手机 | 显示全部楼层 手机版浏览
黑龙江大庆已核对,有一个学生年级错误已更改表格发邮件
发表于 2024-5-13 09:09:32 | 显示全部楼层 手机版浏览
确认无误
回复

使用道具 举报

发表于 2024-5-13 09:07:56 | 显示全部楼层 手机版浏览
收到签领表
发表于 2024-5-10 11:35:05 | 显示全部楼层 手机版浏览
山西临县确认无误。
发表于 2024-5-10 10:29:47 | 显示全部楼层 手机版浏览
江西省爱心公益协会已核对,确认无误
发表于 2024-5-10 09:34:28 | 显示全部楼层 手机版浏览
广西阳朔确认无误。
发表于 2024-5-10 09:32:59 | 显示全部楼层 手机版浏览
秦安确认
回复

使用道具 举报

发表于 2024-5-9 16:07:00 | 显示全部楼层 手机版浏览
确认无误
回复

使用道具 举报

发表于 2024-5-9 16:02:36 | 显示全部楼层 手机版浏览
宁夏泾源县各学校确认无误,感谢协会及各界爱人人士的支持和帮助。
发表于 2024-5-9 16:00:23 来自手机 | 显示全部楼层 手机版浏览
已下载确认
发表于 2024-5-8 14:55:09 | 显示全部楼层 手机版浏览
内蒙古扎赉特旗巴达尔胡中心学校确认无误
发表于 2024-5-8 14:54:39 | 显示全部楼层 手机版浏览
确认无误
回复

使用道具 举报

发表于 2024-5-8 13:27:52 来自手机 | 显示全部楼层 手机版浏览
广西博白确认无误
发表于 2024-5-8 11:19:39 | 显示全部楼层 手机版浏览
四川省邻水县关工委确认无误
发表于 2024-5-8 08:58:19 | 显示全部楼层 手机版浏览
鸡西零度确认无误
发表于 2024-5-7 09:17:35 | 显示全部楼层 手机版浏览
麻城无误
回复

使用道具 举报

发表于 2024-5-7 06:25:05 | 显示全部楼层 手机版浏览
山东郯城助学款核对无误,感谢深圳鹏博助学、感谢所有的爱心人士

发表于 2024-5-6 14:39:26 | 显示全部楼层 手机版浏览
甘肃省平凉市灵台县准确无误。
发表于 2024-5-6 11:48:00 来自手机 | 显示全部楼层 手机版浏览
贵州省榕江县确认无误
发表于 2024-5-6 11:14:28 | 显示全部楼层 手机版浏览
黑龙江省齐齐哈尔市确认无误,感谢鹏博爱心互助协会和爱心人士
发表于 2024-5-6 11:09:48 | 显示全部楼层 手机版浏览
红安县确认无误
发表于 2024-5-6 11:03:16 | 显示全部楼层 手机版浏览
旌德县确认无误
发表于 2024-5-6 09:44:35 | 显示全部楼层 手机版浏览
宁夏泾源高级中学确认无误!
发表于 2024-4-30 10:15:05 | 显示全部楼层 手机版浏览
甘肃崇信红十字会已确认无误。
发表于 2024-4-28 10:12:14 | 显示全部楼层 手机版浏览
贵州普定2024年上期(第2次)助学款信息确认无误
发表于 2024-4-28 09:21:10 | 显示全部楼层 手机版浏览
2024年上期(第2次)助学款信息确认
发表于 2024-4-27 11:42:03 | 显示全部楼层 手机版浏览
新疆塔城各受助生签领表中的相关信息准确无误。
发表于 2024-4-27 09:46:34 | 显示全部楼层 手机版浏览
麻城无误
回复

使用道具 举报

发表于 2024-4-26 15:53:18 | 显示全部楼层 手机版浏览
山阳确认无误
发表于 2024-4-26 15:34:31 | 显示全部楼层 手机版浏览
山东莘县关工委确认无误
发表于 2024-4-26 13:09:17 来自手机 | 显示全部楼层 手机版浏览
山西省吕梁市确认无误!谢谢!
发表于 2024-4-26 12:41:55 | 显示全部楼层 手机版浏览

黎平确认无误
发表于 2024-4-26 11:59:15 | 显示全部楼层 手机版浏览
绥阳地区确认无误。谢谢!
发表于 2024-4-26 11:02:45 | 显示全部楼层 手机版浏览
确认无误
回复

使用道具 举报

发表于 2024-4-26 11:00:23 来自手机 | 显示全部楼层 手机版浏览
湖南江华确认无误
发表于 2024-4-26 10:45:41 | 显示全部楼层 手机版浏览
汕尾市城区东涌中学确认无误
发表于 2024-4-26 10:45:16 | 显示全部楼层 手机版浏览
连平团县委已下载,确认无误:handshake
发表于 2024-4-26 10:15:18 来自手机 | 显示全部楼层 手机版浏览
确认无误
回复

使用道具 举报

您需要登录后才可以回帖 登录 | 欢迎注册

本版积分规则

QQ|Archiver|手机版|小黑屋|鹏博助学 ( 粤ICP备11082869号 )

GMT+8, 2026-4-12 11:42 , Processed in 0.042800 second(s), 12 queries , Redis On.

Powered by Discuz! X3.4 Licensed

© 2001-2017 Comsenz Inc.

快速回复 返回顶部 返回列表