鹏博助学

 找回密码
 欢迎注册
搜索
协会官网 图书捐赠" 英文网站 
等待资助的孩子 
助学流程 
助学款统计 会费统计 学校反馈 淘宝店 
公益统计 
荣誉室 
支付宝 
微信
查看: 5780|回复: 34

2022年下期(第2次)助学款发放签领表下载及确认

  [复制链接]
发表于 2022-11-30 09:50:56 | 显示全部楼层 |阅读模式 手机版浏览
本次反馈要点:
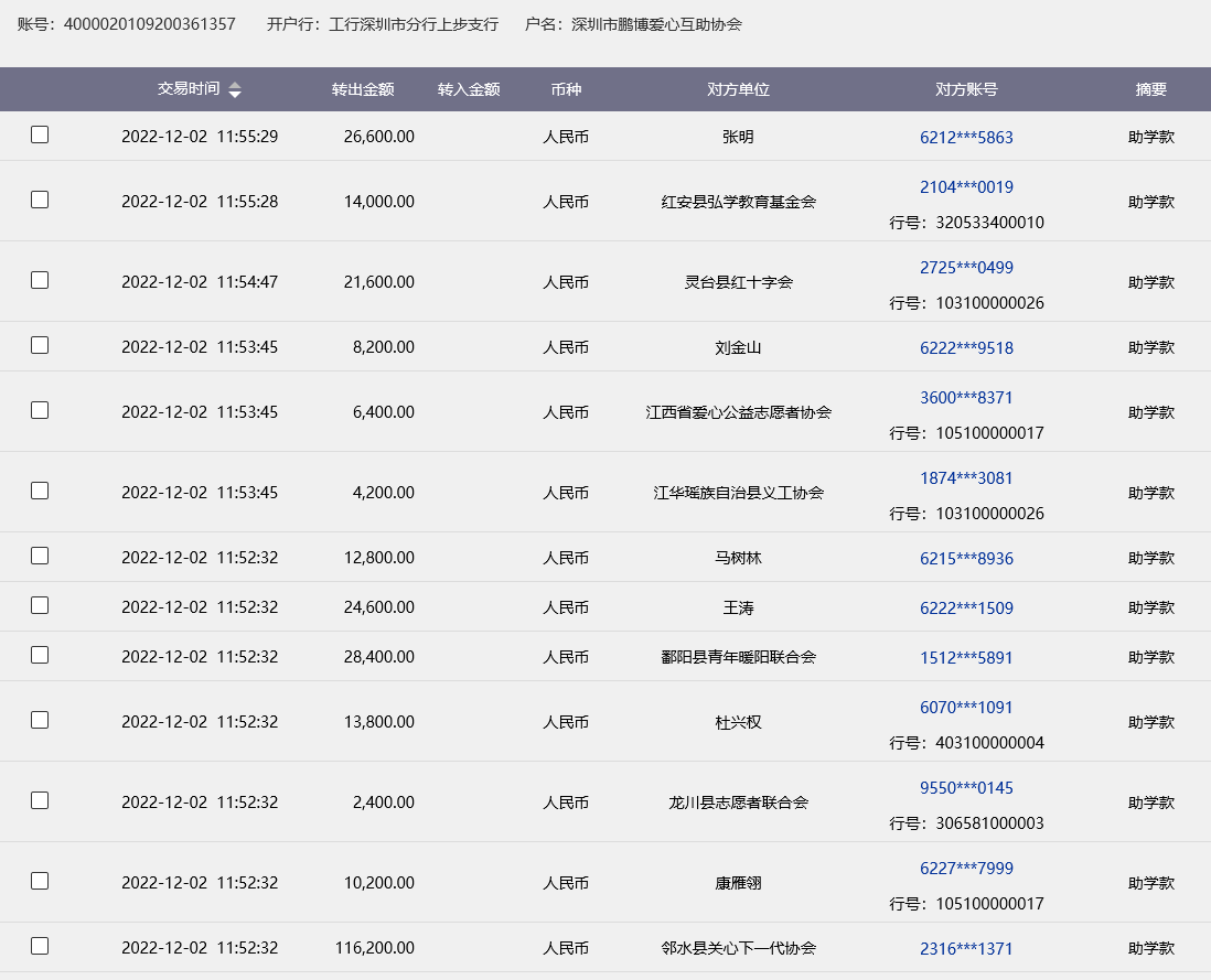
一、12月10日前请到论坛下载助学款签领表并确认学生人数、金额、银行信息、联系人及电话号码是否正确,12月15日前协会将转助学款到学校指定帐户;

二、12月31日前请务必将助学款发放到孩子手中,并将签领表拍照(或扫描)发原图到协会指定邮箱32197@qq.com

三、发放助学款时一定要提示孩子看签领表上的资助人名字是否有所变化?和孩子们开一个小小座谈会让孩子明白资助的目的和意义! 2022年12月至2023年1月各校助学款发放核对表.png
1.png

001四川省邻水县各校2022年12月至2023年1月助学款发放签领表.xls

139.5 KB, 阅读权限: 150, 下载次数: 3

002湖北省红安县2022年12月至2023年1月助学款发放签领表.xls

97.5 KB, 阅读权限: 150, 下载次数: 3

003四川省得荣县2022年12月至2023年1月助学款发放签领表.xls

23.5 KB, 阅读权限: 150, 下载次数: 2

004山西省吕梁地区2022年12月至2023年1月助学款发放签领表.xls

29 KB, 阅读权限: 150, 下载次数: 8

005四川省巴塘康南民族高级中学2022年12月至2023年1月助学款发放签领表.xls.xls

59.5 KB, 阅读权限: 150, 下载次数: 6

007贵州省普定团县委2022年12月至2023年1月助学款发放签领表.xls

58.5 KB, 阅读权限: 150, 下载次数: 3

008内蒙古兴安盟扎赉特旗2022年12月至2023年1月助学款发放签领表.xls

62 KB, 阅读权限: 150, 下载次数: 3

009贵州省岑巩县各学校2022年12月至2023年1月助学款发放签领表.xls

60 KB, 阅读权限: 150, 下载次数: 8

010贵州省榕江县2022年12月至2023年1月助学款发放签领表.xls

151 KB, 阅读权限: 150, 下载次数: 4

011山东省聊城市莘县2022年12月至2023年1月助学款发放签领表.xls

75 KB, 阅读权限: 150, 下载次数: 6

012江西省鄱阳县青年暖阳联合会2022年12月至2023年1月助学款发放签领表.xls.xls

46 KB, 阅读权限: 150, 下载次数: 4

013广西巴马县各校2022年12月至2023年1月助学款发放签领表.xls

44.5 KB, 阅读权限: 150, 下载次数: 6

014广西自治区阳朔县杨堤乡2022年12月至2023年1月助学款发放签领表.xls

20.5 KB, 阅读权限: 150, 下载次数: 2

015安徽省霍山县2022年12月至2023年1月助学款发放签领表.xls

20.5 KB, 阅读权限: 150, 下载次数: 2

016贵州省绥阳县所属各校区2022年12月至2023年1月助学款发放签领表.xls

29 KB, 阅读权限: 150, 下载次数: 4

019广东省连平县2022年12月至2023年1月助学款发放签领表.xls

22.5 KB, 阅读权限: 150, 下载次数: 3

020广东龙川县2022年12月至2023年1月助学款发放签领表.xls

40.5 KB, 阅读权限: 150, 下载次数: 6

022广西博白县2022年12月至2023年1月助学款发放签领表.xls

27.5 KB, 阅读权限: 150, 下载次数: 7

023宁夏自治区泾源县各校2022年12月至2023年1月助学款发放签领表.xls

23.5 KB, 阅读权限: 150, 下载次数: 2

025黑龙江省大庆市地区2022年12月至2023年1月助学款发放签领表.xls

32.5 KB, 阅读权限: 150, 下载次数: 13

027安徽省旌德地区2022年12月至2023年1月助学款发放签领表.xls

24.5 KB, 阅读权限: 150, 下载次数: 1

028江西省南昌地区学校2022年12月至2023年1月助学款发放签领表.xls

31 KB, 阅读权限: 150, 下载次数: 6

029湖南省江华县2022年12月至2023年1月助学款发放签领表.xls

26 KB, 阅读权限: 150, 下载次数: 2

030新疆塔城地区2022年12月至2023年1月助学款发放签领表.xls

31.5 KB, 阅读权限: 150, 下载次数: 8

031黑龙江省齐齐哈尔市梅里斯区卧牛吐学校2022年12月至2023年1月助学款发放签领表.xls.xls

20 KB, 阅读权限: 150, 下载次数: 4

032广东省汕尾市东涌中学2022年12月至2023年1月助学款发放签领表.xls

24.5 KB, 阅读权限: 150, 下载次数: 8

033内蒙古鄂温克旗斯日特幼儿园2022年12月至2023年1月助学款发放签领表.xls.xls

22 KB, 阅读权限: 150, 下载次数: 2

034内蒙古鄂温克旗地区鄂温克旗第一小学2022年12月至2023年1月助学款发放签领表.xls.xls

25.5 KB, 阅读权限: 150, 下载次数: 4

035甘肃省平凉市灵台各校2022年12月至2023年1月助学款发放签领表.xls

44.5 KB, 阅读权限: 150, 下载次数: 3

036贵州黎平县2022年12月至2023年1月助学款发放签领表.xls

64 KB, 阅读权限: 150, 下载次数: 5

037宁夏自治区泾源县高级中学2022年12月至2023年1月助学款发放签领表.xls.xls

25.5 KB, 阅读权限: 150, 下载次数: 2

038湖北麻城2022年12月至2023年1月助学款发放签领表.xls

69 KB, 阅读权限: 150, 下载次数: 2

000协会直接转款学生2022年12月至2023年1月助学款发放签领表.xls

89.5 KB, 阅读权限: 150, 下载次数: 1

024黑龙江省齐齐哈尔2022年12月至2023年1月助学款发放签领表.xls

43.5 KB, 阅读权限: 150, 下载次数: 2

021山东省郯城县各校2022年12月至2023年1月助学款发放签领表.xls

24.5 KB, 阅读权限: 150, 下载次数: 2

发表于 2022-12-7 17:34:58 | 显示全部楼层 手机版浏览
榕江县:一、12月拨款账号已经更新为:        单位开户名称“榕江县教育和科技局;开户账号:2407058829000016632;开户名称:中国工商银行股份有限公司榕江支行;        行号102714300011;财务联系人:吴永耀        0855-6626169        13885517695       
                                                                姓名        联系电话(固定)        联系电话(移动)       
                               
,        二、榕江县学生发放名单信息正确
发表于 2022-12-7 15:21:10 | 显示全部楼层 手机版浏览
巴塘南康民族高级中学信息核对无误(代)
发表于 2022-12-6 11:40:30 | 显示全部楼层 手机版浏览
收到,为确保顺利到账,广西阳朔县各校负责人开户行为:广西阳朔农村商业银行股份有限公司杨堤分理处
发表于 2022-12-6 10:52:58 | 显示全部楼层 手机版浏览
内蒙古呼伦贝尔市鄂温克旗巴彦托海镇斯日特幼儿园确认无误   好人一生平安
发表于 2022-12-6 10:49:42 | 显示全部楼层 手机版浏览
巴马县确认无误,感谢鹏博爱心互助协会及各界爱心人士!
发表于 2022-12-5 18:34:27 | 显示全部楼层 手机版浏览

已确认无误
发表于 2022-12-5 17:11:37 | 显示全部楼层 手机版浏览
山东郯城确认无误,感谢深圳鹏博助学、感谢所有的爱心人士!!!
发表于 2022-12-5 16:55:35 来自手机 | 显示全部楼层 手机版浏览
广西博白确认无误
发表于 2022-12-5 16:43:46 来自手机 | 显示全部楼层 手机版浏览
已确认无误。感谢鹏博爱心协会!
发表于 2022-12-5 16:40:50 | 显示全部楼层 手机版浏览
宁夏泾源县各学校确认无误,感谢协会及各界爱心人士的帮助和支持。
发表于 2022-12-5 16:35:57 | 显示全部楼层 手机版浏览
龙川县确认无误
发表于 2022-12-5 16:32:42 | 显示全部楼层 手机版浏览
泾源高级中学信息已确认
发表于 2022-12-5 10:46:57 | 显示全部楼层 手机版浏览

已确认无误。感谢鹏博爱心协会!
发表于 2022-12-5 09:48:59 来自手机 | 显示全部楼层 手机版浏览
大庆快乐志愿者协会已确认无误
发表于 2022-12-5 09:42:37 | 显示全部楼层 手机版浏览
霍山县确认无误
发表于 2022-12-3 23:33:43 来自手机 | 显示全部楼层 手机版浏览
确认无误
回复

使用道具 举报

发表于 2022-12-2 16:31:47 | 显示全部楼层 手机版浏览
已确认无误
发表于 2022-12-2 12:26:49 | 显示全部楼层 手机版浏览
湖北麻城绿舟救援队已确认无误
发表于 2022-12-2 12:04:46 | 显示全部楼层 手机版浏览
已确认无误!
发表于 2022-12-2 12:02:44 | 显示全部楼层 手机版浏览
旌德县确认无误!
发表于 2022-12-2 11:16:40 | 显示全部楼层 手机版浏览
卧牛吐学校(爱心家园)信息确认无误,谢谢!(代)
发表于 2022-12-1 17:00:45 | 显示全部楼层 手机版浏览

已确认无误
发表于 2022-12-1 16:25:30 | 显示全部楼层 手机版浏览
已确认无误,收到,谢谢
发表于 2022-12-1 12:58:35 | 显示全部楼层 手机版浏览
红安确认无误
发表于 2022-11-30 22:11:03 | 显示全部楼层 手机版浏览
内蒙古扎莱特旗巴达尔胡中心学校,确认无误!
发表于 2022-11-30 20:07:17 | 显示全部楼层 手机版浏览
已确认无误。谢谢!
发表于 2022-11-30 19:13:33 | 显示全部楼层 手机版浏览
黑龙江齐齐哈尔确认无误,感谢鹏博爱心互助协会和爱心团体及爱心人士,提前祝大家在新的一年万事顺遂,兔年吉祥
发表于 2022-11-30 15:38:40 来自手机 | 显示全部楼层 手机版浏览
山西吕梁市已确认!非常感谢!
发表于 2022-11-30 13:27:26 | 显示全部楼层 手机版浏览
确认无误
回复

使用道具 举报

发表于 2022-11-30 12:50:31 | 显示全部楼层 手机版浏览
山东莘县确认无误。
发表于 2022-11-30 12:07:44 | 显示全部楼层 手机版浏览
新疆塔城各受助生及志愿者相关信息确认无误。谢谢鹏博爱心互助协会,谢谢各位爱心人士。
发表于 2022-11-30 10:30:09 来自手机 | 显示全部楼层 手机版浏览
确认
回复

使用道具 举报

发表于 2022-11-30 10:20:27 来自手机 | 显示全部楼层 手机版浏览
确认无误
回复

使用道具 举报

发表于 2022-11-30 10:17:45 来自手机 | 显示全部楼层 手机版浏览
已确认无误
您需要登录后才可以回帖 登录 | 欢迎注册

本版积分规则

QQ|Archiver|手机版|小黑屋|鹏博助学 ( 粤ICP备11082869号 )

GMT+8, 2026-4-12 11:42 , Processed in 0.037970 second(s), 11 queries , Redis On.

Powered by Discuz! X3.4 Licensed

© 2001-2017 Comsenz Inc.

快速回复 返回顶部 返回列表