鹏博助学

 找回密码
 欢迎注册
搜索
协会官网 图书捐赠" 英文网站 
等待资助的孩子 
助学流程 
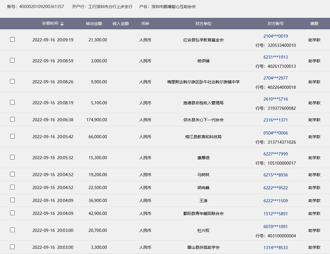
助学款统计 会费统计 学校反馈 淘宝店 
公益统计 
荣誉室 
支付宝 
微信
查看: 19566|回复: 37

2022年下期(第1次)助学款发放签领表下载及确认

  [复制链接]
发表于 2022-9-12 11:00:40 | 显示全部楼层 |阅读模式 手机版浏览
本次反馈要点:
一、9月15日前请到论坛下载助学款签领表并确认学生人数、金额、银行信息、联系人及电话号码是否正确,9月15日协会将转助学款到学校指定帐户;

二、9月30日前请务必将助学款发放到孩子手中(评分时间为10月1日),并将签领表拍照(或扫描)发原图到协会指定邮箱32197@qq.com

三、发放助学款时一定要提示孩子看签领表上的资助人名字是否有所变化?和孩子们开一个小小座谈会让孩子明白资助的目的和意义。 2022年9月至2022年11月各校助学款发放核对表.png
1.jpg 2.jpg 3.jpg 4.png 5.png

002湖北省红安县2022年9月至11月助学款发放签领表.xls

97.5 KB, 阅读权限: 150, 下载次数: 4

004山西省吕梁地区2022年9月至11月助学款发放签领表.xls

31.5 KB, 阅读权限: 150, 下载次数: 8

007贵州省普定团县委2022年9月至11月助学款发放签领表.xls

63.5 KB, 阅读权限: 150, 下载次数: 2

008内蒙古兴安盟扎赉特旗2022年9月至11月助学款发放签领表.xls

63 KB, 阅读权限: 150, 下载次数: 4

009贵州省岑巩县各学校2022年9月至11月助学款发放签领表.xls

60.5 KB, 阅读权限: 150, 下载次数: 3

011山东省聊城市莘县2022年9月至11月助学款发放签领表.xls

76.5 KB, 阅读权限: 150, 下载次数: 10

014广西自治区阳朔县杨堤乡2022年9月至11月助学款发放签领表.xls

21 KB, 阅读权限: 150, 下载次数: 1

015安徽省霍山县2022年9月至11月助学款发放签领表.xls

21 KB, 阅读权限: 150, 下载次数: 5

016贵州省绥阳县所属各校区2022年9月至11月助学款发放签领表.xls

32 KB, 阅读权限: 150, 下载次数: 3

019广东省连平县2022年9月至11月助学款发放签领表.xls

23.5 KB, 阅读权限: 150, 下载次数: 1

021山东省郯城县各校2022年9月至11月助学款发放签领表.xls

23.5 KB, 阅读权限: 150, 下载次数: 2

022广西博白县2022年9月至11月助学款发放签领表.xls

28 KB, 阅读权限: 150, 下载次数: 11

024黑龙江省齐齐哈尔2022年9月至11月助学款发放签领表.xls

44 KB, 阅读权限: 150, 下载次数: 2

025黑龙江省大庆市地区2022年9月至11月助学款发放签领表.xls

34.5 KB, 阅读权限: 150, 下载次数: 6

027安徽省旌德地区2022年9月至11月助学款发放签领表.xls

25 KB, 阅读权限: 150, 下载次数: 1

029湖南省江华县2022年9月至11月助学款发放签领表.xls

29 KB, 阅读权限: 150, 下载次数: 1

030新疆塔城地区2022年9月至11月助学款发放签领表.xls

33 KB, 阅读权限: 150, 下载次数: 23

031黑龙江省齐齐哈尔市梅里斯区卧牛吐学校2022年9月至11月助学款发放签领表.xls.xls

17 KB, 阅读权限: 150, 下载次数: 4

034内蒙古鄂温克旗地区鄂温克旗第一小学2022年9月至11月助学款发放签领表.xls.xls

26.5 KB, 阅读权限: 150, 下载次数: 3

037宁夏自治区泾源县高级中学2022年9月至11月助学款发放签领表.xls

26 KB, 阅读权限: 150, 下载次数: 4

038湖北麻城2022年9月至11月助学款发放签领表.xls

69.5 KB, 阅读权限: 150, 下载次数: 3

023宁夏自治区泾源县各校2022年9月至11月助学款发放签领表.xls

25 KB, 阅读权限: 150, 下载次数: 6

036贵州黎平县2022年9月至11月助学款发放签领表.xls

65.5 KB, 阅读权限: 150, 下载次数: 4

010贵州省榕江县2022年9月至11月助学款发放签领表.xls

152.5 KB, 阅读权限: 150, 下载次数: 3

020广东龙川县2022年9月至11月助学款发放签领表.xls

41 KB, 阅读权限: 150, 下载次数: 7

028江西省南昌地区学校2022年9月至11月助学款发放签领表.xls

33 KB, 阅读权限: 150, 下载次数: 10

033内蒙古鄂温克旗斯日特幼儿园2022年9月至11月助学款发放签领表.xls

22 KB, 阅读权限: 150, 下载次数: 2

032广东省汕尾市东涌中学2022年9月至11月助学款发放签领表.xls

25 KB, 阅读权限: 150, 下载次数: 6

035甘肃省平凉市灵台各校2022年9月至11月助学款发放签领表.xls

47 KB, 阅读权限: 150, 下载次数: 8

001四川省邻水县各校2022年9月至11月助学款发放签领表.xls

148.5 KB, 阅读权限: 150, 下载次数: 3

012江西省鄱阳县青年暖阳联合会2022年9月至11月助学款发放签领表.xls

46.5 KB, 阅读权限: 150, 下载次数: 8

013广西巴马县各校2022年9月至11月助学款发放签领表.xls

47.5 KB, 阅读权限: 150, 下载次数: 4

003四川省得荣县2022年9月至11月助学款发放签领表.xls

25.5 KB, 阅读权限: 150, 下载次数: 3

005四川省巴塘康南民族高级中学2022年9月至11月助学款发放签领表.xls

59.5 KB, 阅读权限: 150, 下载次数: 5

026陕西省山阳县2022年9月至2023年1月助学款发放签领表.xls

52.5 KB, 阅读权限: 150, 下载次数: 0

发表于 2022-10-9 14:29:51 | 显示全部楼层 手机版浏览
康南民族高级中学核对无误(代)
发表于 2022-9-21 11:31:04 | 显示全部楼层 手机版浏览
得荣县核对无误
发表于 2022-9-20 10:48:44 | 显示全部楼层 手机版浏览
贵州省黎平县各受助信息准确无误!
发表于 2022-9-20 10:47:47 | 显示全部楼层 手机版浏览
贵州省黎平县各受助信息准确无误!
发表于 2022-9-19 14:25:08 来自手机 | 显示全部楼层 手机版浏览
已核对无误
发表于 2022-9-19 12:42:40 | 显示全部楼层 手机版浏览

广东龙川受助学生信息确认无误
发表于 2022-9-16 20:48:09 来自手机 | 显示全部楼层 手机版浏览
巴马地区确认收到助学金!
发表于 2022-9-16 20:36:06 来自手机 | 显示全部楼层 手机版浏览
汕尾市城区东涌中学受助学生信息确认无误
发表于 2022-9-16 18:57:32 来自手机 | 显示全部楼层 手机版浏览
巴马地区核对无误
发表于 2022-9-16 17:40:46 | 显示全部楼层 手机版浏览
内蒙古呼伦贝尔鄂温克旗斯日特幼儿园信息确认无误   好人一生平安  
发表于 2022-9-15 18:24:50 来自手机 | 显示全部楼层 手机版浏览
内蒙古呼伦贝尔市鄂温克旗第一实验小学确认无误
发表于 2022-9-15 11:03:00 来自手机 | 显示全部楼层 手机版浏览
广西博白受助学生信息确认无误
发表于 2022-9-14 15:06:09 来自手机 | 显示全部楼层 手机版浏览
南昌地区核对无误
发表于 2022-9-14 12:24:32 | 显示全部楼层 手机版浏览
广西阳朔县杨堤乡各校已确认,谢谢协会。
发表于 2022-9-14 11:21:07 | 显示全部楼层 手机版浏览
普定团县委各受助信息核对无误!
发表于 2022-9-14 10:28:05 | 显示全部楼层 手机版浏览
广东连平县受助学生信息确认无误,谢谢!
发表于 2022-9-14 10:11:52 | 显示全部楼层 手机版浏览
榕江县银行账户信息正确
发表于 2022-9-14 09:18:08 | 显示全部楼层 手机版浏览
旌德县信息确认无误!
发表于 2022-9-14 08:44:45 | 显示全部楼层 手机版浏览
山东莘县各校受助信息无误!
发表于 2022-9-13 18:18:45 来自手机 | 显示全部楼层 手机版浏览
湖南江华确认无误
发表于 2022-9-13 17:46:50 来自手机 | 显示全部楼层 手机版浏览
宁夏泾源县各学校确认无误,感谢协会及各位爱心人士的帮助和支持。
发表于 2022-9-13 17:32:35 | 显示全部楼层 手机版浏览
本帖最后由 宁夏泾源县高级中学 于 2022-9-13 17:33 编辑

宁夏泾源县高级中学受助学生信息无误
发表于 2022-9-13 16:04:46 | 显示全部楼层 手机版浏览
038麻城收到
发表于 2022-9-13 15:17:38 来自手机 | 显示全部楼层 手机版浏览
黑龙江齐齐哈尔账户和账号确认
发表于 2022-9-13 15:00:37 来自手机 | 显示全部楼层 手机版浏览
红安县已确认
发表于 2022-9-13 11:46:50 来自手机 | 显示全部楼层 手机版浏览
湖南江华已确认
发表于 2022-9-13 10:40:04 | 显示全部楼层 手机版浏览
邻水县关工委确定无误,感谢对邻水县贫困学生的资助。
发表于 2022-9-13 10:19:46 | 显示全部楼层 手机版浏览
爱心家园信息核实无误
发表于 2022-9-13 10:05:00 来自手机 | 显示全部楼层 手机版浏览
山西省吕梁市,确认信息无误!非常感谢!
发表于 2022-9-13 08:48:12 | 显示全部楼层 手机版浏览
贵州绥阳地区确认受助信息准确无误。谢谢!
发表于 2022-9-12 19:27:01 来自手机 | 显示全部楼层 手机版浏览
山东郯城确认无误,感谢深圳鹏博助学,感谢所有的爱心人士
发表于 2022-9-12 13:51:02 来自手机 | 显示全部楼层 手机版浏览
黑龙江大庆志愿者协会各校受助信息准确,感谢鹏博爱心资助
发表于 2022-9-12 13:21:40 | 显示全部楼层 手机版浏览
内蒙古扎赉特旗巴达尔胡中心学校确认无误。
发表于 2022-9-12 12:15:07 来自手机 | 显示全部楼层 手机版浏览
安徽省霍山县各校信息确认无误!
发表于 2022-9-12 12:12:06 来自手机 | 显示全部楼层 手机版浏览
江西省鄱阳县各学校受助信息确认无误。
发表于 2022-9-12 11:48:56 | 显示全部楼层 手机版浏览
贵州省岑巩县各中小学校各受助信息准确无误!感谢爱心人士!
发表于 2022-9-12 11:35:27 | 显示全部楼层 手机版浏览
新疆塔城学会各受助信息准确无误!
您需要登录后才可以回帖 登录 | 欢迎注册

本版积分规则

QQ|Archiver|手机版|小黑屋|鹏博助学 ( 粤ICP备11082869号 )

GMT+8, 2026-4-12 11:42 , Processed in 0.052300 second(s), 10 queries , Redis On.

Powered by Discuz! X3.4 Licensed

© 2001-2017 Comsenz Inc.

快速回复 返回顶部 返回列表